網站要能訪問都需要域名,自2017開始國家對于域名的的管控越來越嚴格,從以前的只有.cn域名需要認證到現在的所有域名都是要認證,沒有認證的域名將從2017.5.1開始停止其解析,所以所有網站的域名都要進行實名認證,以前已經購買未認證的要補操作。下面方維網絡就網站建設中如何進行域名認證進行詳細介紹。
域名認證和網站備案不同,域名認證是對一個企業所擁有的域名進行實名認證,就像我們實名認證一個微博、微信等平臺一樣。其實實名認證還是挺簡單的,方維網絡(www.gzgangdun.com)為大家闡述下如何進行域名的實名認證。下面以在阿里云平臺購買的域名為例闡述下如何進行域名實名認證
1、購買域名的時候我們都會填寫清楚各種公司信息,如下圖的一些參數

.com是國際域名,域名的所有者信息以英文為準,圖中所有信息都需要對應的中英文雙語,如果沒有英文信息也可以填寫漢語全拼。
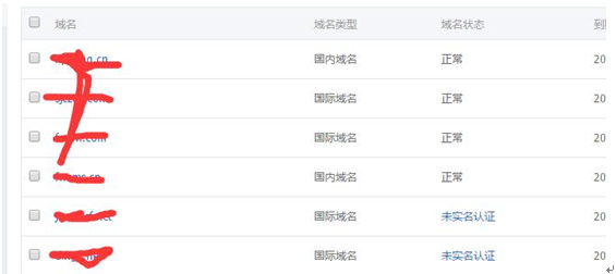
2、域名購買好后,在會員中心查找到本域名可以看到狀態一欄有‘未實名認證’的文字標識,如下圖會員中心的域名有已經做了認證的也有未作實名認證的。

3、實名認證:對于未實名認證的域名可以點擊未實名制認證幾個字樣或者點擊:管理—基本信息—去實名認證。到達實名認證界面后,首先要弄明白域名所有是個人還是企業,如上購買截圖以企業名義購買的域名,則對應填寫上企業的基本信息,主要為營業執照證件號碼和營業執照掃描電子版,填寫認證信息的網頁界面如下:

從上圖可以看出認證主要有3步,上傳認證資料——等待審核(3-5個工作日內完成)——查看實名認證結果。其實重點也就是第一步上傳認證資料,其他兩步都不需要我們做什么工作只是等待結果而已。
到這一步域名認證就結束了,如果沒通過則需要檢查下自己哪里信息填寫錯了(主要指執照號是否寫對,執照號和執照是否為對應統一的),通過后就可以進行網站的備案。備案要比網站的域名實名認證復雜一些,時間周期也更長一些。