天天摸天天做天天爽水多_国产无遮挡又黄又爽免费视频_日出水了特别黄的视频_又色又爽又黄的视频软件app

400-800-9385
網站建設資訊詳細

網站建設中二級域名的解析

發表日期:2014-11-12 00:00:00   作者來源:方維網絡   瀏覽:6946   標簽:域名    
一個大的網站都會有很多的子網站,其子網站都是有二級域名進行解析和綁定的。如58同城這種分類信息網站在不同的城市就會有不同的子域名進行單獨的管理和訪問(見下圖,以北京和深圳為例)
北京58
北京58
深圳58
深圳58
上面兩幅截圖分別是北京和深圳的58同城分網,這樣用不同的二級域名好處主要有
1、便于管理,不同的城市有不同的域名可以單獨上傳不同的內容,差異化管理。
2、便于推廣每個域名都可以單獨進行推廣,seo數據也是單獨累計的。站在網站升級的角度去看,即使一個域名被k另一個依然無影響。
那么如何解析二級域名呢?
其實這個很簡單,我們我們解析頂級域名xxxx.com時的一樣,其實我們解析頂級域名的時候捎帶也會解析一個二級與域名就是www.xxxxx.com只不過大部分人都沒有理解其實www也是一個二級域名。只不過他已經被默認了。
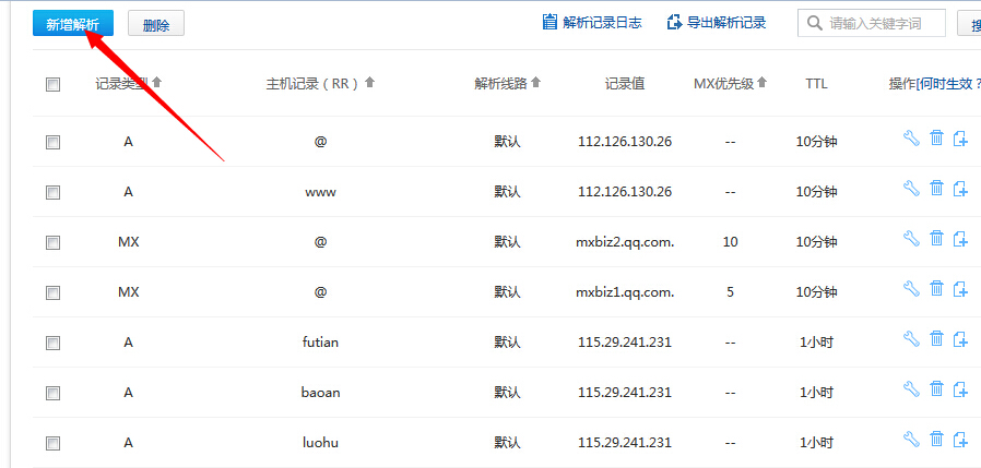
如下圖可以在增加解析里面,自由的添加A記錄,增加子域名。
解析二級域名
如沒特殊注明,文章均為方維網絡原創,轉載請注明來自http://www.gzgangdun.com/news/2361.html